
地址:湖南省湘潭市下摄司潭下路2号
电话:0731—52810277、52810626
邮箱:hndqzy@sina.com
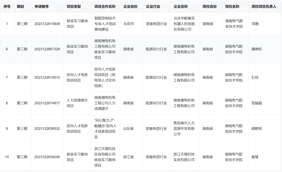
近日,教育部发布的第三期供需对接就业育人项目立项名单中,我院申报的6个项目均成功入选,供需对接就业育人项目是教育部贯彻落实党中央、国务院关于高校毕业生就业创业工作决策部署,深化产教融合、校企合作,健全完善校企协同育人机制,推动高校人才培养与就业有机联动、促进人才供需有效对接的重要举措。
风能工程学院在领导大力推动与支持下,积极与湖南湘电机电工程有限公司、北京华航唯实机器人科技股份有限公司、青岛海尔人力资源开发有限公司、浙江天煌科技实业有限公司等单位主动对接,开展定向人才培养、就业实习基地建设、人力资源提升等方面合作,帮助用人单位培养和招聘更多创新型、复合型和技能型人才。湖南湘电机电工程有限公司多次深入学院,与学院核心专业群开展校企合作洽谈,开展现代学徒制班组建、订单班培养、实习交流、召开风电场运维员技能等级题库研讨会等,将企业用人需求纳入高校教学和培养体系,提升毕业生就业能力和综合素养,满足企业人才需求,提升企业用人部门新员工适岗能力。
后续我院将继续深入开展产教融合,持续推进和落实供需对接就业育人项目的各项工作,促进我院毕业生更加充分更高质量就业。

湘公安备 43030402000268号

